CPP5
Для полной функциональности этого сайта необходимо включить JavaScript.
Москва
Илья Рычагов
fartykman
Рейтинг: 133
не верифицирован
Всего отзывов:
1
0
Опубликовал заданий:
7
Работ в портфолио:
68
Типовых услуг:
0
Работ на продажу:
0
Зарегистрирован:
15.02.2015
Был на сайте:
2022-08-17 в 22:12
Предложить работу
Добавить в избранное
Добавить рекомендацию
Пожаловаться
ИТ и Разработка
36
0
CPP5
Используемые навыки:
C/C++/C#
Описание
Решение
Результат
Соавторы
Презентация проекта
Примеры реализации
Описание
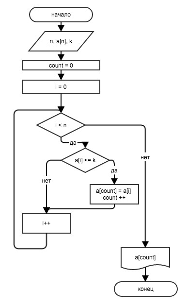
Простейшая работа на C++ для университета
Презентация проекта
Оценили проект:
0
×
Оценили проект
×
Авторизация
Для того чтобы оценивать проекты, вам нужно войти на сайт
Другие проекты
Все проекты
Maxgusta
Ph#5
ASDFMOVIE DS
FREELANCE.RU
Toggle navigation
Нанять фрилансера
Заказчику
Найти по специализации
Найти по услугам
Провести конкурс
Разместить задание
Виртуальный HR
Найти студию
Другое
Найти работу
Фрилансеру
Найти задание
Присоединиться к команде
Участвовать в конкурсе
Предложить услугу
Другое
Возможности
Для заказчика
Для фрилансера
Вход
Разместить задание
▲