CPP7
Для полной функциональности этого сайта необходимо включить JavaScript.
Москва
Илья Рычагов
fartykman
Рейтинг: 133
не верифицирован
Всего отзывов:
1
0
Опубликовал заданий:
7
Работ в портфолио:
68
Типовых услуг:
0
Работ на продажу:
0
Зарегистрирован:
15.02.2015
Был на сайте:
2022-08-17 в 22:12
Предложить работу
Добавить в избранное
Добавить рекомендацию
Пожаловаться
ИТ и Разработка
27
0
CPP7
Используемые навыки:
C/C++/C#
Описание
Решение
Результат
Соавторы
Презентация проекта
Примеры реализации
Описание
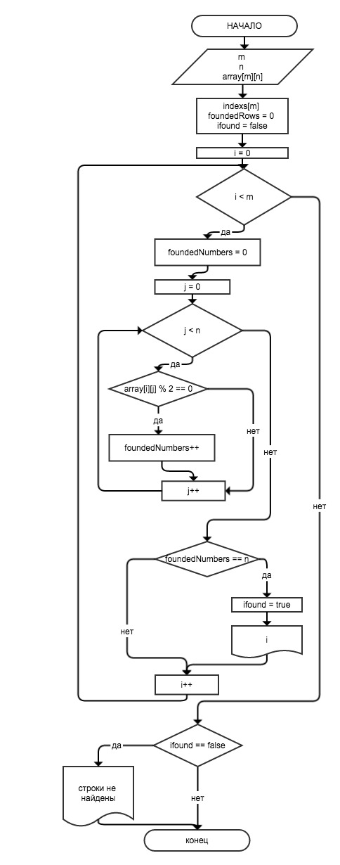
Простейшая работа на C++ для университета
Презентация проекта
Оценили проект:
0
×
Оценили проект
×
Авторизация
Для того чтобы оценивать проекты, вам нужно войти на сайт
Другие проекты
Все проекты
Ph#6
KROSH AND CRASH
Макбук хоррор
FREELANCE.RU
Toggle navigation
Нанять фрилансера
Заказчику
Найти по специализации
Найти по услугам
Провести конкурс
Разместить задание
Виртуальный HR
Найти студию
Другое
Найти работу
Фрилансеру
Найти задание
Присоединиться к команде
Участвовать в конкурсе
Предложить услугу
Другое
Возможности
Для заказчика
Для фрилансера
Вход
Разместить задание
▲